Patent WO/2020/060606 was registered on 26 March 2020. The patent application was filed by Microsoft Technology Licensing, LLC, headed by Bill Gates, back on 20 June 2019
The title of the patent is “Cryptocurrency system using body activity data”. And why has the patent been given the code number 060606? Is it a coincidence or the deliberate choice of what is referred to in the Book of Revelation as the number of the beast?
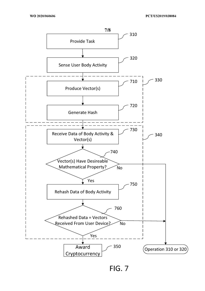
“Human body activity associated with a task provided to a user may be used in a mining process of a cryptocurrency system. A server may provide a task to a device of a user which is communicatively coupled to the server.
A sensor communicatively coupled to or comprised in the device of the user may sense body activity of the user.
The cryptocurrency system communicatively coupled to the device of the user may verify if the body activity data satisfies one or more conditions set by the cryptocurrency system, and award cryptocurrency to the user whose body activity data is verified.”
In other words, a chip will be inserted into the body that monitors a person’s daily physical activity in return for cryptocurrency. If conditions are met, then the person receives certain bonuses that can be spent on something.
A detailed description of the “invention” provides 28 concepts for how the device could be used.
It also provides a list of countries for which the invention is intended https://patentscope.wipo.int/search/en/detail.jsf?docId=WO2020060606&tab=PCTCLAIMS
It also provides a list of countries for which the invention is intended https://patentscope.wipo.int/search/en/detail.jsf?docId=WO2020060606&tab=PCTCLAIMS
Essentially, this is all the members of the United Nations and a few regional organisations specified separately – the European Patent Office, the Eurasian Patent Organization, and two African intellectual property protection organisations.
Bill Gates’ company is involved in another project – the digital ID project ID2020 Alliance. On the website’s homepage, it says that the project has been addressing the issue of digital rights since 2016 https://id2020.org/
In 2018, the Alliance worked with the United Nations High Commissioner for Refugees. Besides Microsoft, the Alliance includes the Rockefeller Foundation, the design studio. The Secretariat for the Alliance is based in New York. http://IDEO.org
It is telling that Gavi, the Vaccine Alliance mostly covers countries in Africa and Asia. In Europe, the organisation is only active in Albania, Croatia, Moldova and Ukraine, and, in the Caucasus, in Georgia, Armenia and Azerbaijan
Since February 2020, Gavi, the Vaccine Alliance has been focusing on the coronavirus pandemic https://www.gavi.org/
The organisation’s CEO is Dr Seth Berkley. Although the headquarters of Gavi, the Vaccine Alliance are in Geneva, Berkley himself, an epidemiologist by training, is from New York.
Since the late 1980s, he has spent eight years working at the Rockefeller Foundation and is a fellow at the Council on Foreign Relations. He is also an advisory council member of the New York-based Acumen Fund https://acumen.org/
Read on Twitter